广告 X
欧意最新版本
欧意最新版本app是一款安全、稳定、可靠的数字货币交易平台。
APP下载 官网地址

图片来源:由 Maze AI 生成
2023 年值得关注的 5 大技术热点
以太坊在 2023 年的重要基础设施类升级
上海升级:成功开放提款,将打消潜在质押者的安全顾虑,因 此预计 staking 的量会上升。同时,staking 项目的竞争也会更加激烈;
坎昆升级:升级内容可能还会有所变化,但会是 2023 年以太坊 最重大的技术升级。
-
Proto-Danksharding : 目的是降低以太坊主网的手续费。如果升级成功,以太坊性能将会得到数十倍的提升,并且 同时将为 L2 的发展铺平道路。
-
EVM Object Format (EOF) : 优化 EVM,为两年来以太坊首次修改 EVM,将会改善智能合约运行的性能,降低 手续费开销

以太坊在 2023 年为未来技术发展的准备
-
KZG Ceremony:已经在 2023 年 1 月份成功开启,为 Proto- danksharding 提供了技术(密码学)基础。
-
接下来将制定 Danksharding 的标准,解决存在的技术障碍。
-
尽管 Danksharding 大概率不会在 2023 年发生,但其升级成功后, 将标志着以太坊扩容之路的成功。

以太坊在 2023 年的重要议题——MEV、监管与抗审查
-
做成 chain:对应的是 builder 去中心化
-
做跨链异构链 MEV 统一的平台:扩展新的 MEV 市场
-
做 order flow:巩固现有的 MEV 市场的地 位
-
路线图中的 crList,将防止 relayer 的作恶
-
协议层的 PBS:将实现提议、构建、验证的分离。
-
目前 staking 遇到了类似 PoW 幸运值的问题,需要类似协议层 的 PBS 的方法改善,否则将会危害去中心化
-
去中心化的区块构建者 (block builder) 网络

符合 OFAC 区块数量 ( 来源:mevwatch.info)
以太坊合并、上海升级后,Staking 赛道将在 2023 年迎来更多发展
Liquid Staking:
如何改善质押代币的流动性,目前能看到比较成功的实践是 stETH,随着上海升级的进行,不同质押方案将陆续出现, 其流动性方案将会成为质押方案成功的关键。
Decentralized Staking:
目前存在一些去中心化质押的产品和方案,但例如 RocketPool 等流动性过差,需要想办法改进。
Restaking:
EigenLayer 提出的「二次质押」的想法,作为一个很不错的 创新受到了社区的关注,但是 同时该方案也有可能危害以 太坊协议层的安全。
DVT (去中心化验证者网络):
SSV 和 Obol 正在探索去中心化验证者的技术方案,这是质押 去中心化发展的重要一步。
质押收益稳定化:
当前不同质押节点收益差距过大,需要收益稳定化解决方案。

以太坊验证节点数量(来源:stakingrewards.com)
以太坊多版本客户端值得关注
Paradigm 的 Reth:采用了模块化客户端的设计思路,方便开发者组合其中的组建以达到更好的开发效果。
al6z 的 Helios:采取了和目前多数客户端完全不同的思路,Helios 将执行层与共识层客户端耦合在一起,其效果值得观察。

各户晰数据,来源:Ethernodeso
浏览器:为了解决 Etherscan 的中心化问题,目前社区开始基于新型客户端开发自托管区块链 浏览器,效果值得关注。
以太坊的其他新兴技术话题
除了路线图等老生常谈的内容外,2023 年初以太坊社区也有了更多较新的话题讨论,主要包括隐形地址 Stealth Address (EIP-5564) 、基于格的密码学技术 (Lattice-based Cryptography) 等,但具体在以太坊基础设施和应用上的落地仍有待 2023 年的观察。

来源:An incomplete guide to stealth addresses, 作者:Vitalik Buterino
模块化区块链技术仍是 2023 年的技术热点之一
模块化区块链在 2023 年将可能在多个层面和方向上有所进展。
数据可用性层上的新竞争者:
除了 Celestia 外,2023 年将有更多竞争者参与到 DA 赛道中,包括 Polygon Avail 等。其他一些有意思的探索包括:
更灵活高效的的执行层:
Layer2 优化方案
AltLayer 采用了模块化 Rollup 的思路,与 Cosmos 应用链的思路异曲同 工 OP;
Stack:将支持开发者快速搭建和启动 Layer2;
Stackr、dymension:「Build Your Own Rollup」,快速构建应用专有 Rollup。

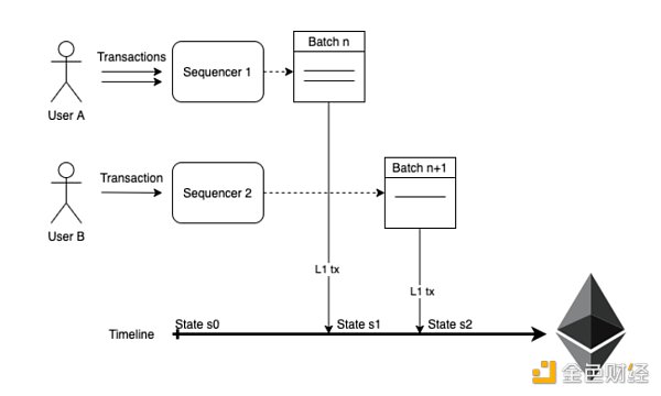
Layer2 优化方案——Sequencer 中心化
解决 Sequencer 中心化的问题

Proof of Efficiency 的去中心化 Sequencer 设计(来源:Polygon Hermez 在 ETH Research 发布内容)
更多的 Layer2 以及「subnet」、Layer3
通过构建 Layer2「子网」的方式来建立生态将会更加普遍。以往生态中应用链的竞争,可能会进一步延续到「子网」的竞争中。
比较值得关注的包括:Avalanche (Subnet)、Binance Chain (Beacon Chains zkBNB、Sidechains、Greenfield) 以及从 meme 转变为 Layer2 生态的 Shiba。
L3 以支持区块链更大规模的扩容与采用,与 Rollup 模块化有着类似的目的,但是完全不同的解决办法。基于 Layer2,提供进一步实现纵向扩容的开发工具和执行环境。 例如 Starknet 的 Slush、zkSync 的 Opportunity 等。

来源:A Comparison of Heterogeneous Blockchain Networks
zkEVM 主网上线但技术成熟有待时间
zkEVM 无疑是 2023 年最为值得关注的扩容进展之一。2023 年会有不少测试网甚至主网上线。包括 ConsenSys zkEVM、Polygon Hermezs Scroll。
但技术的成熟(EVM 兼容等)可能仍需要一定时间。
另外,支持 zkEVM 证明的硬件(ASIC)估计需要到 2023 年底会出现相对成熟可用的产品。

不同兼容度的 zkEVM (来源:Vitalik Buterin 博客)
但 ZK 应用值得期待
ZK 在其他领域内的应用在 2022 年有了长足进展并大概率将在 2023 年 延续,特别是 zkBridge

—种 zkBridge 的设计方式 ( 来源 : Succinct Labs)
跨链的其他趋势:多链应用.MEV,链间安全等
多链 ( 全链 ) 和跨链应用将更多:
跨链 MEV 将很可能重演在单体链上的发展,2023 年值得关注的包括定制化节点共识层的方案例如 Skip Protocol 等定制化 Tendermint 以及 Cosmos 2.0 修改协议层等方案。
另外,随着 Layer2 的成熟,Layer2 与 Layer!的 MEV 问题将会愈发凸显。Layer2MEVI 具也将随 Layer2 的成熟而完善。
链间安全 (Interchain Security) : Cosmos 将在 2023 年实现的共享安全方案。restaking 方案思路也与该方案类似,利用 staking 提供更多服务。
钱包及用户端应用
MPC (TSS) 将很可能成为标配:MPC 用于 TSS ( 门限签名 ) 已较为成熟,将支持托管、用户无助记词等更多应用场景。
AA ( 账户抽象 ) 的一些设计 (EIP4337) 已经接近完成,代码开发进展顺利将在 2023 年成熟;与 MPC 的结合后的钱包产品将非常 值得期待
闪电网络上的支付、金融服务等应用在 2023 年将有更多有想象空间的发展:
另外,Proto-danksharding 之后的 L2 支付方案也将在降低成本和提升效率上更上一个档次。
Web3 开发者相关工具不断完善
值得期待的新的编程语言与新生态
新的开发者工具为下一个行业周期积累技术
附:2023 年部分值得关注的主网上线 / 升级发布

撰文:HashKey Capital
来源:DeFi之道
本文内容由互联网用户自发贡献,该文观点仅代表作者本人。本站仅提供信息存储空间服务,不拥有所有权,不承担相关法律责任。