您现在的位置是:首页 股票股票
宗馥莉接手娃哈哈商业股份公司 再接手1家父亲名下公司
春风拂面 2024-09-29 10:05:01 股票 已有人查阅
导读天眼查App显示,近日,娃哈哈商业股份有限公司发生工商变更,宗庆后卸任法定代表人、董事长兼总经理,由宗馥莉接任法定代表人、董事长并担任经理,同时,多位主要人员均发生变更。娃哈哈商业股份有限公司成立于2......
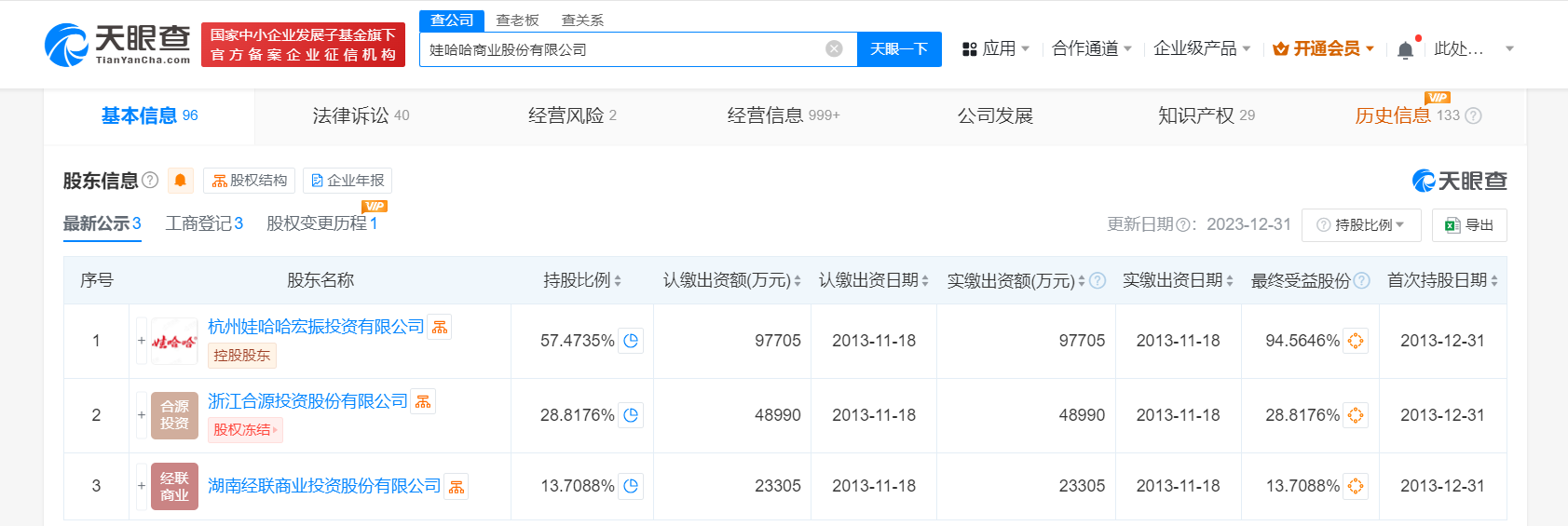
天眼查App显示,近日,娃哈哈商业股份有限公司发生工商变更,宗庆后卸任法定代表人、董事长兼总经理,由宗馥莉接任法定代表人、董事长并担任经理,同时,多位主要人员均发生变更。
娃哈哈商业股份有限公司成立于2011年12月,注册资本17亿人民币,由杭州娃哈哈宏振投资有限公司、浙江合源投资股份有限公司、湖南经联商业投资股份有限公司共同持股。不久前,杭州娃哈哈集团有限公司发生工商变更,宗庆后卸任法定代表人、董事长兼总经理并退出股东行列,由宗馥莉接任上述职务并担任股东。



| 欧意交易所最新推荐 | ||
| OK交易所下载 | USDT钱包下载 | 比特币平台下载 |
| 挖比特币方法 | 买稳定币教程 | 钱包注册指南 |
本文标签: 股票
很赞哦! ()
相关文章
随机图文
景嘉微(300474.SZ)新款图形处理芯片已完成流片、封装阶段工作
智通财经APP讯,景嘉微(300474.SZ)公告,公司新款图形处理芯片(公司命名为“JM11系列”)已
美亨实业(01897.HK)12月3日回购1.6万股
格隆汇12月3日丨美亨实业(01897.HK)发布公告,2024年12月3日以7120港元回购1.6万股,回购
敷尔佳(301371.SZ):拟在春节前实施分红 每10股派发现金红利5元(含税)
格隆汇12月3日丨敷尔佳(301371.SZ)公布,公司拟在春节前实施分红,并于2024年12月3日召开
万事利(301066.SZ)定增申请获中国证监会同意注册批复
智通财经APP讯,万事利(301066.SZ)公告,公司于近日收到中国证券监督管理委员会出具的《关